ОСТ 26-01-141-81
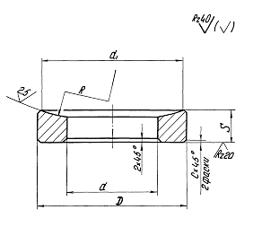
ШАЙБЫ ДЛЯ РЕЗЬБОВЫХ СОЕДИНЕНИЙ СОСУДОВ И АППАРАТОВ НА ДАВЛЕНИЕ СВЫШЕ 9,81 ДО 98,1 МПа (СВЫШЕ 100 ДО 1000 КГС/СМ2).
Настоящий стандарт распространяется на шайбы для резьбовых соединений сосудов и аппаратов, применяемых в химической, нефтехимической и смежных отраслях промышленности на давление свыше 9,81 до 98,1 МПа (свыше 100 до 1000 кгс/см2) и при расчетной температуре стенки сосуда от минус 40 до плюс 420 °С.

...
Скачать ОСТ 26-01-141-81:
- ost_26-01-141-81.doc 169 КБ
Марки сталей, используемые для изготовления специального крепежа для химической и нефтеперерабатывающей промышленности, объектов электроэнергетики:
Хладостойкие стали:
09Г2С,
10Г2,
14Х17Н2,
20Х13.
Теплостойкие стали:
20Х1М1Ф1ТР,
20Х1М1Ф1БР,
25Х1МФ,
25Х2М1Ф,
35ХГСА,
30ХМА.
Жаропрочные и коррозионностойкие стали и сплавы:
10Х17Н13М2Т,
10Х17Н13М3Т,
12Х18Н10Т,
45Х14Н14В2М,
ХН35ВТ.
Другие марки стали — по согласованию с Заказчиком.
АРСЕНАЛ